Патентная глупость
Доброго времени суток вам! О бессмысленных патентах я уже рассказывал, сейчас хочу представить несколько абсолютно ненужных (по моему мнению) патентов, придуманных различными творческими личностями Все патенты реальные, в скобках приведены номера патентов для самостоятельного дальнейшего изучения.

Электрическое мыло (патент US 6802819)
Оказывается, если встроить в кусок мыла некое электромеханическое устройство, вызывающее его (куска) вибрацию, то эффективность намыливания значительно увеличится. На языке оригинала это устройство называется Персональный Гигиенический Массажный Кусок (Personal Hygeinic Massage Bar, перевод вольный), и состоит из собственно, куска мыла и встроенного в него электронного устройства с моторчиком и батарейками. Хотите хорошенько намылиться — включаете его, и только успевайте ловить это продвинутое мыло и прислонять его к поверхности тела, а техника сделает остальное за вас!

Бар с прыгающими стаканчиками (US 5678617)
А это весьма технологичное приспособление, которое облегчает нелегкий труд барменов, вынужденных посылать стаканы посетителям в разные концы стойки. С «прыгающим» баром достаточно только нажать кнопку, и стакан сам переместится в необходимое место, а после использования вернется назад. Я еще не понял, как действует это замечательное изобретение, но несомненно, оно произведет революцию в барном деле.

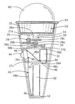
Вращающееся мороженое (US 5971829)
Сначала я не понимал, для чего оно нужно, но задумался о таком… Представьте — вы всего навсего высовываете язык, прикасаетесь им к шарику мороженого, и оно начинает вращаться, как граммофонная пластинка, доставляя слой мороженого в ваш рот. Вкус его при этом значительно улучшается, да и внешне вращающееся мороженое неожиданно удивит окружающих. Это вам не вручную крутить рожок с мороженым, а весьма высокие технологии

Часы для животных (US 5023850)
Это, оказывается, специальные часы, которые считают время и переводят его из животного в человеческий масштаб. Например, исполнился собаке один год, а часы показывают, соответственно, семь лет. Таким образом хозяева и посторонние люди всегда могут определить «человеческий» возраст своего питомца. Зачем это нужно? А не знаю…

Постельный автозаправитель (US 4441222)
Я думал, чего мне не хватает в моей жизни? Теперь ясно — такого автозаправителя. Я же каждый день из года в год заправлял свою постель, потратив уже суммарно не менее месяца на это бесполезное занятие! Теперь есть абсолютно новый Постельный Автозаправитель (что-то меня в рекламу потянуло), который состоит из множества рычагов, шарниров и роликов, подключается к сети и заправляет постель любой сложности почти мгновенно. Осталось только надеяться, что он не начнет ее заправлять ночью, когда вы будете сладко спать

Носимая клетка для животных (US 5901666)
Если вы хотите, чтобы любимый хомячок всегда был с вами, поместите его в эту странную конструкцию, похожую на прозрачный трубчатый лабиринт с «комнатами», где хомяк сможет покушать и покакать при желании. Все простенько и со вкусом. Осталось только придумать подобную конструкцию для более крупных животных, например кошек или даже собак — вдруг вы хотите всегда носить с собой вашу таксу или, например, сенбернара

Альтернативные качели (US 6368227)
В данном патенте заявлены авторские права на метод качания. Обычно на качелях качаются перпендикулярно точкам крепления, грубо говоря, вперед-назад. Автор же этого изобретения придумал новый способ — слева направо! Ведь никто до него не додумался до этого, что показательно… Для достижения необходимого эффекта изобретатель рекомендует тянуть сначала за одну веревку, потом за вторую попеременно, что приведет к поперечному раскачиванию.

Родильное кресло — центрифуга (US 3216423)
В описании патента говорится: «Устройство для достижения рождения ребенка с использованием центробежной силы, для уменьшения стресса у роженицы и облегчения процесса родов». Ага, уменьшения стресса у роженицы Когда женщина рожает — это такой стресс, а вот если ее прикрутить ремнями к непонятному креслу со множеством механистических приспособлений, да при этом хорошенько раскрутить — стресса как не бывало! В описании содержится много перлов, как вам такой? «В случае, когда роженица относится к примитивному виду человека, у нее хорошо развиты все родовые мышцы, и природа снабдила ее всем необходимым оборудованием для успешных родов. Если же взять более цивилизованную женщину, ее мышцы слабые, и необходимо помочь ей с помощью дополнительного оборудования». Занавес.

Замок на крышку унитаза (US 3477070)
Этот патент был зарегистрирован более 40 лет назад, и описывает устройство замка для крышки унитаза, которая препятствует его открытию. Зачем это нужно — догадайтесь сами, включите свою фантазию. Я, например, представляю такой замок, например, в туалете общежития, чтобы посторонние не пользовались. Все ходят с ключом, ключ берут на вахте, после отдают назад. Как я придумал?

Очки с зеркалами обратного вида (US 3423150)
Все очкарики сейчас обзавидуются, ведь зеркало заднего вида для очков — это то, чего всегда не хватало. Его могут использовать, например, агент 007 или другие известные супершпионы. В-общем, хочешь стать супершпионом — обзаведись такими продвинутыми очками, только не забудь отстегивать деньги изобретателю!

Шапка-переноска (US 3496575)
Эта «замечательная» женская шапочка может вместить в себя косметику, ключи и другие вещи, которые обычно находятся в женской сумочке. Ко всему прочему, у этой шапки есть еще теплые уши, так что вам не грозит в ней замерзнуть зимой. Только представьте, какое это зрелище — девушка в шапке с ушами, с висящими по бокам ключами и побренькивающими пузырьками с косметикой. От поклонников отбоя не будет.

Винтовка-выпивайка (US 3450403)
Если у вас нет разрешения на ношение оружия, вы можете носить за спиной эту замечательную винтовку. В случае опасности вскидываете ее, тщательно прицеливаетесь, нажимаете на курок, и выпиваете заботливо летящий в рот стакан (интересно, кто его наливает перед этим?). В принципе, для некоторых охотников процесс охоты ни в чем не изменится

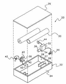
Электронный подавитель храпа (US 3480010)
Храп — самый нежелательный «подарок». Если храпит ваш сосед — вы не можете спать, если храпите вы — вас будят, чтобы вы не храпели. Итог — никто толком не спит. Но есть решение — электронный подавитель храпа! Как только раздастся первый храпящий выдох, электроника сгенерирует высоковольтный импульс и хорошенько ударит током храпящего, от чего от гарантированно перестанет храпеть. Правда, при этом он может проснуться, вскрикнуть, вскочить, удариться головой о стенку, опрокинуть аквариум… В-общем, вариантов масса, главное — храпу будет положен надежный конец.

Портативное сидение (UK GB2267208)
Никогда не думал, что такое сидение тоже запатентовано. Среди моих знакомых, ходящих в походы, оно известно под названием «ПЕНДЕЛЬ», и сделано из куска пенополистирола с резинкой, обернутой вокруг пояса. А тут, оказывается, все придумано до нас — смотрите схему.

Щит для поцелуев (US US5727565)
Это загадочное устройство сделано из тонкой гибкой мембраны и держателя. Мембрана запаяна с трех сторон, что позволяет натягивать ее на держатель, как полиэтиленовый пакет. Нижняя форма держателя повторяет контуры подбородка, а верхняя содержит впадину для носа — получается что-то вроде сердца. Если вы захотите кого-нибудь поцеловать, необходимо поместить устройство перед лицом так, чтобы нос попал в соответствующее углубление, и пленка натянулась, принимая контуры лица. После этого- целуйтесь сколько вздумается! Интересно, головой кто-то думал перед тем, как придумать это жутко полезное устройство?

Детектор Санта-Клауса (US US5523741)
Русский Дед Мороз обычно никуда не спешит, приходит в дом, дарит детишкам подарки, при необходимости выпивает с родителями немного водки и идет дальше, поздравлять следующих детишек. Капиталистический же Санта-Клаус действует как самый настоящий Нео из Матрицы — мигом залезает в трубу, нычкует подарки в носках (что туда влезет??) и быстро улетает, чтобы его никто не заметил. Детишки в шоке — им приходится всю ночь не спать и ждать, когда же прилетит этот Санта? К счастью, буржуины придумали, как помочь буржуинским детям определить, что буржуинский Санта-Клаус уже закинул подарок в носок и собирается улетать прочь. В этот момент в особом электрифицированном носке срабатывает сигнализация, и с этого момента главное — перекрыть дымоход, чтобы Санта-Клаус не успел улететь до разбора подарков Забота о детишках поразительная!

Остановщик икоты (US US7062320)
Если вы икаете, вам поможет новое средство — остановщик икоты. Забудьте про способы вроде напугать вас или просто дать воды — остановщик икоты справится с этим намного эффективнее. Его принцип действия прост — страдающий икотой прикрепляет это устройство, похожее на стакан с водой, на лицо, наклоняет его, чтобы вода попала в рот, после чего следует удар тока. При этом особые нервы во рту раздражаются, и икота (обычно) проходит. Просто и надежно, надо взять на вооружение
Патентная глупость

Электрическое мыло (патент US 6802819)
Оказывается, если встроить в кусок мыла некое электромеханическое устройство, вызывающее его (куска) вибрацию, то эффективность намыливания значительно увеличится. На языке оригинала это устройство называется Персональный Гигиенический Массажный Кусок (Personal Hygeinic Massage Bar, перевод вольный), и состоит из собственно, куска мыла и встроенного в него электронного устройства с моторчиком и батарейками. Хотите хорошенько намылиться — включаете его, и только успевайте ловить это продвинутое мыло и прислонять его к поверхности тела, а техника сделает остальное за вас!

Бар с прыгающими стаканчиками (US 5678617)
А это весьма технологичное приспособление, которое облегчает нелегкий труд барменов, вынужденных посылать стаканы посетителям в разные концы стойки. С «прыгающим» баром достаточно только нажать кнопку, и стакан сам переместится в необходимое место, а после использования вернется назад. Я еще не понял, как действует это замечательное изобретение, но несомненно, оно произведет революцию в барном деле.

Вращающееся мороженое (US 5971829)
Сначала я не понимал, для чего оно нужно, но задумался о таком… Представьте — вы всего навсего высовываете язык, прикасаетесь им к шарику мороженого, и оно начинает вращаться, как граммофонная пластинка, доставляя слой мороженого в ваш рот. Вкус его при этом значительно улучшается, да и внешне вращающееся мороженое неожиданно удивит окружающих. Это вам не вручную крутить рожок с мороженым, а весьма высокие технологии

Часы для животных (US 5023850)
Это, оказывается, специальные часы, которые считают время и переводят его из животного в человеческий масштаб. Например, исполнился собаке один год, а часы показывают, соответственно, семь лет. Таким образом хозяева и посторонние люди всегда могут определить «человеческий» возраст своего питомца. Зачем это нужно? А не знаю…

Постельный автозаправитель (US 4441222)
Я думал, чего мне не хватает в моей жизни? Теперь ясно — такого автозаправителя. Я же каждый день из года в год заправлял свою постель, потратив уже суммарно не менее месяца на это бесполезное занятие! Теперь есть абсолютно новый Постельный Автозаправитель (что-то меня в рекламу потянуло), который состоит из множества рычагов, шарниров и роликов, подключается к сети и заправляет постель любой сложности почти мгновенно. Осталось только надеяться, что он не начнет ее заправлять ночью, когда вы будете сладко спать

Носимая клетка для животных (US 5901666)
Если вы хотите, чтобы любимый хомячок всегда был с вами, поместите его в эту странную конструкцию, похожую на прозрачный трубчатый лабиринт с «комнатами», где хомяк сможет покушать и покакать при желании. Все простенько и со вкусом. Осталось только придумать подобную конструкцию для более крупных животных, например кошек или даже собак — вдруг вы хотите всегда носить с собой вашу таксу или, например, сенбернара

Альтернативные качели (US 6368227)
В данном патенте заявлены авторские права на метод качания. Обычно на качелях качаются перпендикулярно точкам крепления, грубо говоря, вперед-назад. Автор же этого изобретения придумал новый способ — слева направо! Ведь никто до него не додумался до этого, что показательно… Для достижения необходимого эффекта изобретатель рекомендует тянуть сначала за одну веревку, потом за вторую попеременно, что приведет к поперечному раскачиванию.

Родильное кресло — центрифуга (US 3216423)
В описании патента говорится: «Устройство для достижения рождения ребенка с использованием центробежной силы, для уменьшения стресса у роженицы и облегчения процесса родов». Ага, уменьшения стресса у роженицы Когда женщина рожает — это такой стресс, а вот если ее прикрутить ремнями к непонятному креслу со множеством механистических приспособлений, да при этом хорошенько раскрутить — стресса как не бывало! В описании содержится много перлов, как вам такой? «В случае, когда роженица относится к примитивному виду человека, у нее хорошо развиты все родовые мышцы, и природа снабдила ее всем необходимым оборудованием для успешных родов. Если же взять более цивилизованную женщину, ее мышцы слабые, и необходимо помочь ей с помощью дополнительного оборудования». Занавес.

Замок на крышку унитаза (US 3477070)
Этот патент был зарегистрирован более 40 лет назад, и описывает устройство замка для крышки унитаза, которая препятствует его открытию. Зачем это нужно — догадайтесь сами, включите свою фантазию. Я, например, представляю такой замок, например, в туалете общежития, чтобы посторонние не пользовались. Все ходят с ключом, ключ берут на вахте, после отдают назад. Как я придумал?

Очки с зеркалами обратного вида (US 3423150)
Все очкарики сейчас обзавидуются, ведь зеркало заднего вида для очков — это то, чего всегда не хватало. Его могут использовать, например, агент 007 или другие известные супершпионы. В-общем, хочешь стать супершпионом — обзаведись такими продвинутыми очками, только не забудь отстегивать деньги изобретателю!

Шапка-переноска (US 3496575)
Эта «замечательная» женская шапочка может вместить в себя косметику, ключи и другие вещи, которые обычно находятся в женской сумочке. Ко всему прочему, у этой шапки есть еще теплые уши, так что вам не грозит в ней замерзнуть зимой. Только представьте, какое это зрелище — девушка в шапке с ушами, с висящими по бокам ключами и побренькивающими пузырьками с косметикой. От поклонников отбоя не будет.

Винтовка-выпивайка (US 3450403)
Если у вас нет разрешения на ношение оружия, вы можете носить за спиной эту замечательную винтовку. В случае опасности вскидываете ее, тщательно прицеливаетесь, нажимаете на курок, и выпиваете заботливо летящий в рот стакан (интересно, кто его наливает перед этим?). В принципе, для некоторых охотников процесс охоты ни в чем не изменится

Электронный подавитель храпа (US 3480010)
Храп — самый нежелательный «подарок». Если храпит ваш сосед — вы не можете спать, если храпите вы — вас будят, чтобы вы не храпели. Итог — никто толком не спит. Но есть решение — электронный подавитель храпа! Как только раздастся первый храпящий выдох, электроника сгенерирует высоковольтный импульс и хорошенько ударит током храпящего, от чего от гарантированно перестанет храпеть. Правда, при этом он может проснуться, вскрикнуть, вскочить, удариться головой о стенку, опрокинуть аквариум… В-общем, вариантов масса, главное — храпу будет положен надежный конец.

Портативное сидение (UK GB2267208)
Никогда не думал, что такое сидение тоже запатентовано. Среди моих знакомых, ходящих в походы, оно известно под названием «ПЕНДЕЛЬ», и сделано из куска пенополистирола с резинкой, обернутой вокруг пояса. А тут, оказывается, все придумано до нас — смотрите схему.

Щит для поцелуев (US US5727565)
Это загадочное устройство сделано из тонкой гибкой мембраны и держателя. Мембрана запаяна с трех сторон, что позволяет натягивать ее на держатель, как полиэтиленовый пакет. Нижняя форма держателя повторяет контуры подбородка, а верхняя содержит впадину для носа — получается что-то вроде сердца. Если вы захотите кого-нибудь поцеловать, необходимо поместить устройство перед лицом так, чтобы нос попал в соответствующее углубление, и пленка натянулась, принимая контуры лица. После этого- целуйтесь сколько вздумается! Интересно, головой кто-то думал перед тем, как придумать это жутко полезное устройство?

Детектор Санта-Клауса (US US5523741)
Русский Дед Мороз обычно никуда не спешит, приходит в дом, дарит детишкам подарки, при необходимости выпивает с родителями немного водки и идет дальше, поздравлять следующих детишек. Капиталистический же Санта-Клаус действует как самый настоящий Нео из Матрицы — мигом залезает в трубу, нычкует подарки в носках (что туда влезет??) и быстро улетает, чтобы его никто не заметил. Детишки в шоке — им приходится всю ночь не спать и ждать, когда же прилетит этот Санта? К счастью, буржуины придумали, как помочь буржуинским детям определить, что буржуинский Санта-Клаус уже закинул подарок в носок и собирается улетать прочь. В этот момент в особом электрифицированном носке срабатывает сигнализация, и с этого момента главное — перекрыть дымоход, чтобы Санта-Клаус не успел улететь до разбора подарков Забота о детишках поразительная!

Остановщик икоты (US US7062320)
Если вы икаете, вам поможет новое средство — остановщик икоты. Забудьте про способы вроде напугать вас или просто дать воды — остановщик икоты справится с этим намного эффективнее. Его принцип действия прост — страдающий икотой прикрепляет это устройство, похожее на стакан с водой, на лицо, наклоняет его, чтобы вода попала в рот, после чего следует удар тока. При этом особые нервы во рту раздражаются, и икота (обычно) проходит. Просто и надежно, надо взять на вооружение
Патентная глупость
1 комментарий